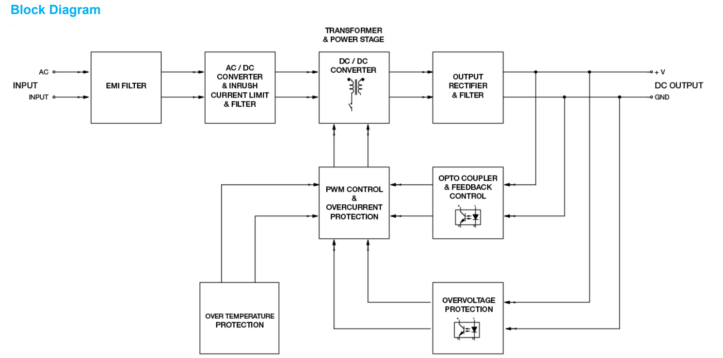
Delta的PMC系列面板安装电源提供了一个12V的标称输出电压,一个很宽的温度范围从-10°C到+70°C和一个高度可靠的最小保持时间。最先进的设计是为了承受恶劣的工业环境。使该产品在人群中脱颖而出的是它的轻质全铝车身设计,根据IEC60068-2,它可以承受冲击和振动。PMC系列还提供过电压和过载保护。采用较宽的输入电压范围设计,它是兼容的全球。该输入还包括来自125-375Vdc的直流工作电压。最重要的是,这种优秀的设计和质量并没有一个很大的价格标签
亮点与特色
- 全球通用交流输入电压范围
- 输入电压全范围功率不降级
- 抗腐蚀铝质外売
- 符合谐波电流IEC/EN 61000-3-2, Class A 标准
- MTBF > 700,000 hrs Telcordia SR-332
- IEC/EN/UL 60950-1, IEC/EN/UL 62368-1 与电磁干扰 EN55032 Class B 标准
输出电压
12V
输出功率
100W
输出电流
8.34A
输入电压范围
85-264Vac
尺寸 (L x W x H)
158 x 97 x 38 mm
6.22” x 3.82” x 1.50”
重量
0.45 kg (0.99 lb)
最后订购日期: 1-Oct-2022
最后出货日期: 31-Dec-2022
简体中文
English
Russian
全国服务热线










